商铺名称:郑州嘉单信息科技有限公司
联系人:失意(先生)
联系手机:
固定电话:
企业邮箱:82817496@qq.com
联系地址:河南省郑州市金水区花园路92号欧凯商务北楼3楼316
邮编:
联系我时,请说是在变革智能网上看到的,谢谢!
AI语音机器人软件简单理解就是替电销人员打电话的机器人,都说是机器人了,全天保持无休状态肯定是不在话下的。AI语音机器人软件每日通话量大概在800-1000通,一个AI语音机器人软件就能顶3个销售人员的日通话量了,AI语音机器人软件能在批量上传号码后一键开启群呼任务,省去电销人员每日手动拨号的时间。
ai电销机器人与人工比有以下优势:

1、人工一天只能打200-300通电话,而机器人每天的通话量在3000+以上,可以说是人工的5-10倍,效率高
2、低成本,机器人无需培训,不会离职,没有福利。相当于招聘了一个稳定的电销团队,可以说是减少了企业不少成本
3、机器人采用的真人录音师,录制语音,上传后台,客户对话和真人对话一样,通顺流畅,富有感染力,每一通电话都情绪饱满
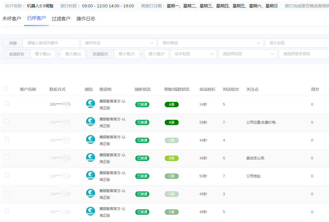
4、会根据通话内容自动的分类成A、B、C类客户,自动标记未接通的电话。并且可以记录整个通话内容,通过文字和语音的模式记录在后台

5、在对话的过程中,如果客户打断了对话,机器人将立即停止对话,并重新进行语音识别。然后继续与客户交流沟通,使客户感觉像是在与真人对话。
