LZ系列金属管浮子流量计
LZ系列金属管浮子流量计
产品价格:(人民币)
  • 规格:完善
  • 发货地:本地至全国
  • 品牌:
  • 最小起订量:1
  • 免费会员
    会员级别:试用会员
    认证类型:企业认证
    企业证件:通过认证

    商铺名称:江苏飞云仪表有限公司

    联系人:()

    联系手机:

    固定电话:

    企业邮箱:4640280461033011703@qq.com

    联系地址:江苏省金湖县经济开发区环城西路8号

    邮编:

    联系我时,请说是在变革智能网上看到的,谢谢!

    商品详情

      产品简介

      金属管浮子流量计是工业自动化过程控制中常用的一种变面积流量测量仪表。它具有体积小,检测范围大,使用方便等特点。它可用来测量液体、气体以及蒸汽的流量,特别适宜低流速小流量的介质流量测量。

      详细介绍

       

      金属管转子流量计

       

      产品概述

           金属管转子流量计是工业自动化过程控制中常用的一种变面积流量测量仪表。它具有体积小,检测范围大,使用方便等特点。它可用来测量液体、气体以及蒸汽的流量,特别适宜低流速小流量的介质流量测量。 

      结构原理

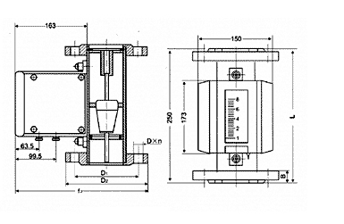
      1.结构

           本系列金属管转子流量计符合中国JB/T 6844-1993国家标准,主要由两大部分组成:测量管和指示器。测量管包括锥管或孔板、导向器、止动器、浮子等部件,指示器包括磁随动系统、指针、刻盘、线路等组件。

       

       

       

         LZ系列金属管浮子流量计适用于小口径和低流速介质的流量测量;工作可靠,维护量小,寿命长;金属管浮子流量计对于直管段要求不高 ;较宽的流量比10:1;双行大液晶显示,可选现场瞬时/累计流量显示,可带背光 单轴灵敏指示;非接触磁耦合传动;金属管浮子流量计全金属结构,适于高温、高 压和强腐蚀性介质;可用于易燃、易爆危险场合;可选二线制、电池、交流供电方 式;多参数标定功能;金属管浮子流量计带有数据恢复,数据备份及掉电保护功能.

      技术参数:
      测量范围:水(20℃)1-200000 l/h、空气(20℃,0.1013MPa)0.03-4000m3/h参见流量表,特殊流量可订制
      量程比:标准型10:1 特殊型20:1
      精度: 标准型1.5级 特殊型1.0级
      压力等级:标准型: DN15-DN50 4.0MPa DN80-DN200 1.6MPa
      特殊型: DN15-DN50 25MPa DN80-DN200 16MPa
      夹套的压力等级为1.6MPa
      特殊型在选型和订货前应与工厂协商
      压力损失:7kPa-70kPa
      介质温度:标准型:-80℃-+200℃:PTFE:0℃-85℃
      高温型:zui高可达400℃
      介质粘度:DN15: <5mPa.s(F15.1-F15.3)、<30mPa.s(F15.4-F15.8)、DN25: <250mPFa.s、DN50-DN150: <300mPa.s
      环境温度:液晶型-30℃-+85℃
      指针型:-40℃-+120℃
      连接形式:标准型:DIN2501标准法兰
      特殊型:由用户的任意标准法兰或螺纹
      电缆接口:M20*1.5
      供电电源:标准型24VDC二线制4-20mA(10.8VDC-36VDC )
      交流型:85-265VAC 50HZ
      电池型:3.6V@4AH镍氢电池
      报警输出:上限或下限瞬时流量报警
      标准型:集电极开路输出(zui大100mA@30VDC内部阻抗100 欧)
      特殊型:继电器输出(触点容量zui大5A@250VAC)
      脉冲输出:累积脉冲输出,zui小间隔50毫秒
      液晶显示:瞬时流量显示数值范围:0-50000
      累计流量显示数值范围:0-99999999
      防护等级:IP65
      防爆标志:本安型iaⅡCT6 隔爆型dⅡCT6


      产品选型

      代号 测 量管结构
      LZ-50 下 进上出
      LZ-51 下 进上横出
      LZ-52 下 横进上横出
      LZ-53R 右 进左出
      LZ-53L 左 进右出
        代号 接 液材质
      R0 0Cr18Ni2Mo2Ti
      R1 1Cr18Ni9Ti
      Rp PTFE
      T1 钛 合金
      Rl 316L
        代号 管 道口径
      DN15 15
      DN25 25
      DN50 50
      DN80 80
      DN100 100
      DN150 150
      DN200 200
        代号 附 加结构
       
      T 夹 套型
      Z 阻 尼型
      G 高 温型
      Y 高 压型
        代号 指 示器形式代码组合
      M1 就 地指示器,机械指示瞬时流量
      M2 供 电型,机械指示瞬时流量,液晶显示瞬时/累积流量
      M3 供 电型,无机械指示,液晶显示瞬时/累积流量
        代码 供 电方式
      只 限M1指示器
      A 220VAC,4-20mA输出
      B 电 池供电,无输出
      C 24VDC,二线制供电,4-20mA输出
      D 24VDC,三、四线制供电,4-20mA输出
        代号 防 爆标志
      l 本 安iaCT5方型壳体
      d 隔 爆Diibt4园壳体
        代号 报警或脉冲输出
      无报警或脉冲输 出
      K1 上限报警或一路 脉冲输出
      K2 下限报警或一路 脉冲输出
      K3 上、下限报警或 双路脉冲输出

    0571-87774297