机器人自动打电话软件, 高效外呼的电销软件
机器人自动打电话软件, 高效外呼的电销软件
产品价格:(人民币)
  • 规格:完善
  • 发货地:本地至全国
  • 品牌:
  • 最小起订量:1套
  • 免费会员
    会员级别:试用会员
    认证类型:企业认证
    企业证件:通过认证

    商铺名称:郑州嘉单信息科技有限公司

    联系人:失意(先生)

    联系手机:

    固定电话:

    企业邮箱:82817496@qq.com

    联系地址:河南省郑州市金水区花园路92号欧凯商务北楼3楼316

    邮编:

    联系我时,请说是在变革智能网上看到的,谢谢!

    商品详情
      语音电话销售机器人这边支持自主学习,是越用越聪明的,很多人可能会想,电销机器日的话术是固定的,但是其实是不是的,语音电话销售机器人是越用越聪明的,你这边语音电话销售机器人比如说遇到一个不会回答的问题,下次再遇到相同的问题的话,语音电话销售机器人这边就会回答了,语音电话销售机器人的后台是可以进行自主训练的,越用越聪明,跟人一样,是具备学习能力的。

      智能语音外呼系统:


      嘉单科技电话营销机器人为什么受到这么多人的欢迎?
      1、线路稳定:线路稳定是最基本的保障,有了稳定的线路,稳定的通话量,自然能够拨打出更多的意向客户 ,
      2、高效率:业务人员每天除去休息时间,不间断拨打电话,每天最多拨打(200~400)通电话,而机器人每天可以拨打(3000~无上限),是人工拨打的7~N倍。
      3、电话营销机器人采用真人录音,不会有机械应答的烦恼,通话过程中,支持打断,优先回复客户咨询的问题,再转入主流程引导,非常智能。

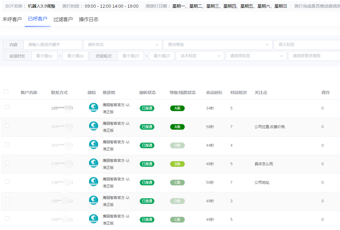
      4、机器人会根据通话内容自动的分类成A、B、C类客户,自动标记未接通的电话,过一段时间会再呼叫一次。并且可以记录整个通话内容,通过文字和语音的模式记录在后台。


      5、自动学习能力强,机器人前期设置的话术应答,后续拨打过程中,客户问到话术之外的问题,会自动记录在后台上,随时可添加删减,越用越聪明,智商越高。

    0571-87774297