• 您好,欢迎来到变革智能网!
  • 请登录
  • 免费注册
  • [ 手机app ]
  • 添加收藏
深圳市云为电子有限公司
  • 商铺首页
  • 公司介绍
  • 供应信息
  • 公司资讯
  • 客户留言
  • 联系方式
产品分类
联系方式
联系人:姜先生 ()
电   话:
手   机:
传   真:
友情链接
产品供应
  • 校园电控 空调收
  • 水控机,水控一体
  • 消费云平台 消费
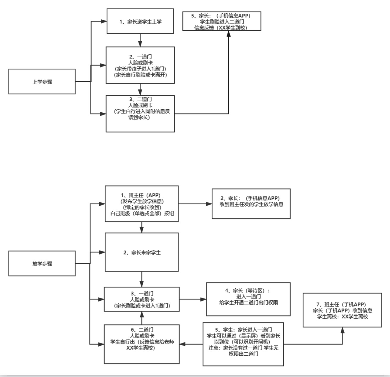
  • 校园接送系统 接
  • 人脸消费机/挂式
  • 饭堂消费机/食堂
  • 班车刷卡机/校车
  • 门店自助扫码结算
  • 校园企业巴士付款
  • 挂式人脸消费机用
  • 无卡出租车刷卡机
  • 高拍仪快递取件韵
  • 立式门禁安全人脸
  • 室内游乐场管理平
  • PLC主机DVP
  • 人脸识别话机用户
  • 食堂刷卡机饭堂消
  • 校车刷卡机支持上
  • 云为通勤车扫码机
  • IC卡公交扫码机
[首页][上一页][下一页][尾页] 当前是第 1 页 共4页66条 20条/页

网站首页 丨  供应产品 丨  公司简介 丨  公司资讯 丨  给我留言 丨  联系方式

深圳市云为电子有限公司 地址:
版权所有:变革智能网 经营许可证:浙B2-20080178